政策法規 | | 關于公開征求《化學藥品仿制藥口服溶液劑藥學研究技術指導原則》意見的通知(附法規概覽10.07-10.13)
01
關于公開征求《化學藥品仿制藥口服溶液劑藥學研究技術指導原則》意見的通知

長按識別圖中二維碼
查看詳細信息

02
關于公開征求《化學藥品注射劑配伍穩定性藥學研究技術指導原則》意見的通知

掃描識別圖中二維碼
查看詳細信息

03
關于公開征求《化學仿制藥生物等效性研究摘要》意見的通知

掃描識別圖中二維碼
查看詳細信息

01
關于公開征求《注射用醋酸亮丙瑞林微球生物等效性研究技術指導原則(征求意見稿)》意見的通知

掃描識別圖中二維碼
查看詳細信息

02
關于公開征求《艾曲泊帕乙醇胺片生物等效性研究技術指導原則(征求意見稿)》和《恩扎盧胺軟膠囊生物等效性研究技術指導原則(征求意見稿)》意見的通知

掃描識別圖中二維碼
查看詳細信息

03
國家藥監局藥審中心關于發布《延緩慢性腎臟病進展的藥物臨床試驗技術指導原則》的通告(2023年第47號)

掃描識別圖中二維碼
查看詳細信息

04
國家藥監局藥審中心關于發布《狼瘡腎炎治療藥物臨床試驗技術指導原則》的通告(2023年第48號)

掃描識別圖中二維碼
查看詳細信息

05
國家藥監局藥審中心關于發布《多發性硬化治療藥物臨床試驗技術指導原則》的通告(2023年第49號)

掃描識別圖中二維碼
查看詳細信息

06
國家藥監局藥審中心關于發布《干眼治療藥物臨床試驗技術指導原則》的通告(2023年第50號)

長按識別圖中二維碼
查看詳細信息

07
關于公開征求《中藥新藥用于緊張型頭痛的臨床療效評價技術指導原則(征求意見稿)》意見的通知

掃描識別圖中二維碼
查看詳細信息

08
關于公開征求《放射性化學仿制藥藥學研究技術指導原則(征求意見稿)》意見的通知

掃描識別圖中二維碼
查看詳細信息

09
關于公開征求《化學藥品仿制藥混懸型鼻用噴霧劑藥學研究技術指導原則(征求意見稿)》意見的通知

掃描識別圖中二維碼
查看詳細信息

10
關于公開征求《化學仿制藥注射劑過量灌裝研究技術指導原則(征求意見稿)》意見的通知

掃描識別圖中二維碼
查看詳細信息

11
關于公開征求《低分子量肝素類仿制藥藥學研究與評價技術指導原則(征求意見稿)》意見的通知

掃描識別圖中二維碼
查看詳細信息

12
關于公開征求《人源干細胞產品非臨床研究技術指導原則(征求意見稿)》意見的通知

掃描識別圖中二維碼
查看詳細信息

NMPA
01
國家藥監局 國家衛生健康委關于發布實施《中華人民共和國藥典》(2020年版)第一增補本的公告(2023年第126號)

掃描識別圖中二維碼
查看詳細信息

02
國家藥監局 國家衛生健康委關于加強依托咪酯和莫達非尼藥品管理的通知

掃描識別圖中二維碼
查看詳細信息

非處方藥轉換固精養元合劑的公示

掃描識別圖中二維碼
查看詳細信息

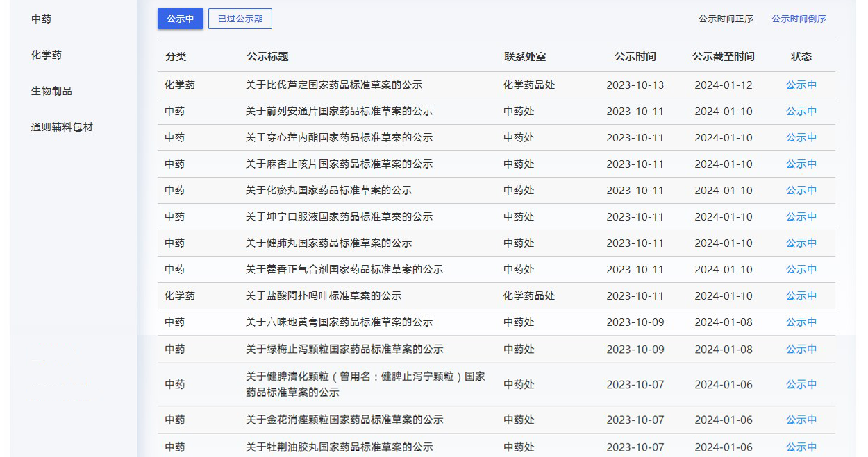
近期藥典委發布關于牡荊油膠丸等14個品種藥品標準草案的公示。

長按識別圖中二維碼
查看詳細信息

-END-



轉載聲明:未經本網或本網權利人授權,不得轉載、摘編或利用其他方式使用上述作品。已經本網或本網權利人授權使用作品的,應在授權范圍內使用,并注明“來源:新領先醫藥科技”。

Hotline服務熱線:010-83057670
簡體中文

010-83057670
聯系地址:
技術市場部:
北京新領先
新領先藥訊
010-61006450
